首页 > 机械行业标准(JB) > JB/T 7384.10-1994 紧固件杆部销孔、头部销孔对称度、开槽螺母对称度及开口销孔垂直度检具
JB/T 7384.10-1994

基本信息

标准号: JB/T 7384.10-1994

中文名称:紧固件杆部销孔、头部销孔对称度、开槽螺母对称度及开口销孔垂直度检具

标准类别:机械行业标准(JB)

标准状态:现行

出版语种:简体中文

下载格式:.rar .pdf

下载大小:112182

相关标签: 紧固件 头部 对称 开槽 螺母 垂直

标准分类号

关联标准

出版信息

相关单位信息

标准简介

JB/T 7384.10-1994 紧固件杆部销孔、头部销孔对称度、开槽螺母对称度及开口销孔垂直度检具 JB/T7384.10-1994 标准下载解压密码:www.bzxz.net

标准图片预览

JB/T 7384.10-1994 紧固件杆部销孔、头部销孔对称度、开槽螺母对称度及开口销孔垂直度检具
JB/T 7384.10-1994 紧固件杆部销孔、头部销孔对称度、开槽螺母对称度及开口销孔垂直度检具
JB/T 7384.10-1994 紧固件杆部销孔、头部销孔对称度、开槽螺母对称度及开口销孔垂直度检具
JB/T 7384.10-1994 紧固件杆部销孔、头部销孔对称度、开槽螺母对称度及开口销孔垂直度检具
JB/T 7384.10-1994 紧固件杆部销孔、头部销孔对称度、开槽螺母对称度及开口销孔垂直度检具

标准内容

中华人民共和国机械行业标准
JE/T7384.1~7384.1894
紧固件专用检具
1994-07-26发布
中华人民共和国机械工业部
1995-07-01实施
中华人民共和国机械行业标准
紧固件www.bzxz.net
杆部销孔、买部销孔对称度、
开槽螺母播对称度及开口销孔垂直度检具主因内容与适用范围
JB/T7384.1094
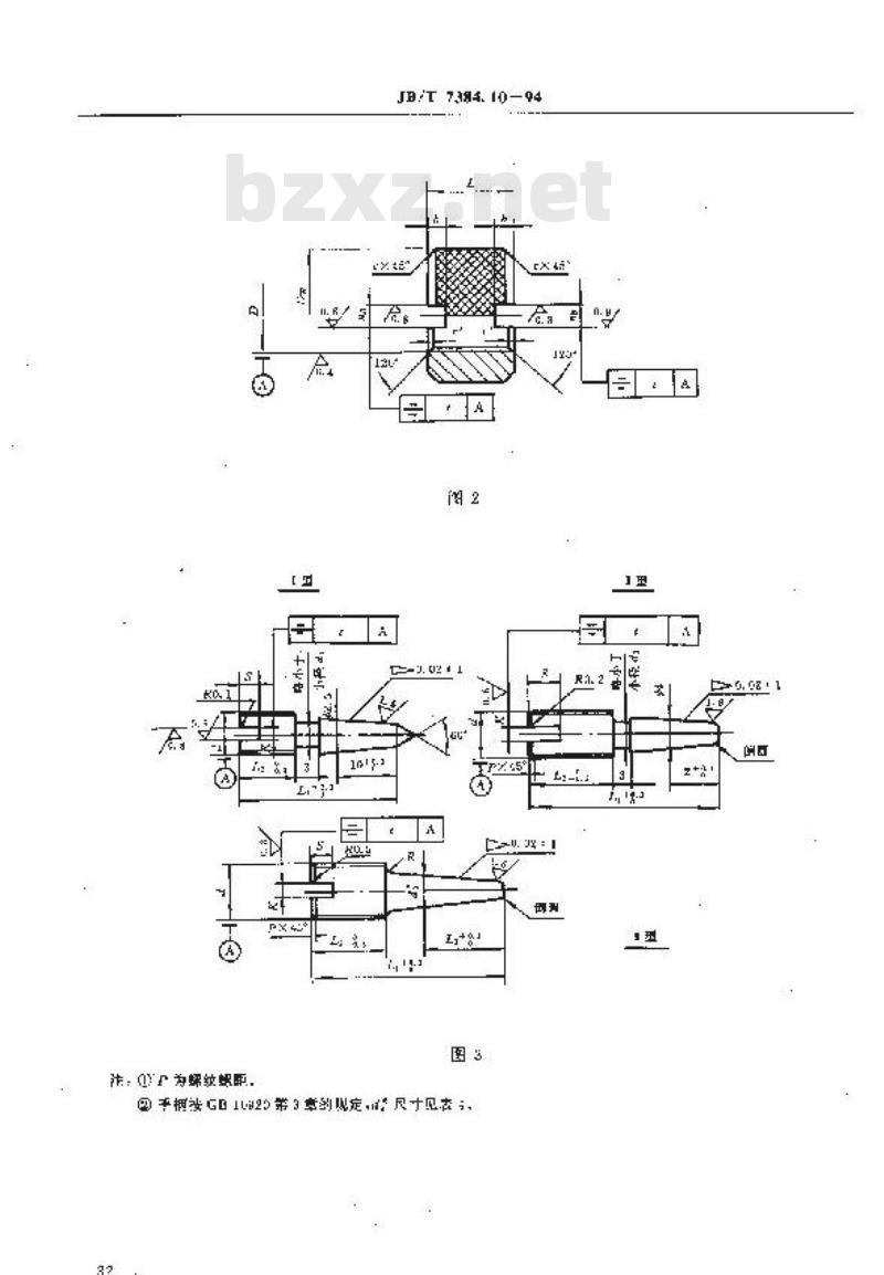
本标准凭定了检测杆部开口销孔对螺杆轴的对秘度,法部开口链孔端轴线对球度、可幅幅母措对螺较轴线的对称度及并口销孔与杆部轴线的重度检具的型式和尺,本规窄适月于2B J13 02. 2表3第7,8,9丸12项2引用标准
GB1957
GB3934
GB1UJ20
光滑极限量规
紫固件公差燃栓、塑订和燃母
若通螺纹量划
些通燃纹最规至
型式和成计
螺栓,娠钉,螺柱和螺母的尺寸与几何嘴度7BJ13102.1紧固件测试克法
检验项目与检具
检验项E与检具按表1的规定,
型式和尺寸
型式尺接1~国3及表2~去5的规定,图
机械工业部1994-07-26批准
1995-(7-01实施
法:(0)F为螺纹螺距
JB/T7384.10-94
网G带定尺见
产品舰店
B/T 7384.10:94
GR 25.GR1.1--31. 3
打新钥孔对称度,更高摩检
环培代导
GM 32. 1--32.
实孔对称度检照
森法号
注K17蒙母规与475选月害现推例②G日2杆部销凡垂点决性不选坏规,表2
排代号
基本所
极装带
GE 94576459
开通烦母得称度格险
销估代号
销代号
1 , (24
举规代书
站接代号
基本尺卡
极限偏学
整撑代卡
批限编垫
环规北号
基本成力 1. 96
. 94 1
基本及寸
凝限偏丝
JB/T 7384.10—94
续表2
rs cos
.-a. 2s
—, n36
-0,435
—5,022
-- 0. 6sc
注:@用于版产品检验许标记\\m用组产品检验端面标记*②择规螺效尺十等同于[3934为爆较通切尺寸。34
海德代中
选用平树号
极能有些
基尺寸
祝限健整
其本尺寸
吸闲有游
角洱市车
基本R
极限组益
校限备察
1 *~1 *
3±~?*
JB/T 73月4.10
注:离别账这是小等可于CB5924起是的道现尺,“\,“H\分表示上领产品等线,3为GR17*学457~459
0, 025
小提示:此标准内容仅展示完整标准里的部分截取内容,若需要完整标准请到上方自行免费下载完整标准文档。