首页 > 化工行业标准(HG) > HG/T 2057-2011 搪玻璃搅拌容器用机械密封
HG/T 2057-2011

基本信息

标准号: HG/T 2057-2011

中文名称:搪玻璃搅拌容器用机械密封

标准类别:化工行业标准(HG)

标准状态:现行

出版语种:简体中文

下载格式:.rar .pdf

下载大小:213KB

相关标签: 玻璃 搅拌 容器 机械 密封

标准分类号

关联标准

出版信息

相关单位信息

标准简介

HG/T 2057-2011 搪玻璃搅拌容器用机械密封 HG/T2057-2011 标准压缩包解压密码:www.bzxz.net

标准图片预览

HG/T 2057-2011 搪玻璃搅拌容器用机械密封
HG/T 2057-2011 搪玻璃搅拌容器用机械密封
HG/T 2057-2011 搪玻璃搅拌容器用机械密封
HG/T 2057-2011 搪玻璃搅拌容器用机械密封
HG/T 2057-2011 搪玻璃搅拌容器用机械密封

标准内容

IC5 71.120:25.220.50
备案号:34489—2012
中华人民共和国化工行业标准
HG/T 2057—2011
代格/T2057203
糖玻璃搅拌容器用机械密封
Mechanical seals for glass lined vessel2011-12-20发布
2012-07-01实施
中华人民共利国工业和信息化部发布前言
本标准代替HG/1'2057--2003《携玻璃搅拌容器用机械封》。本标推与HG/T20572003相比主要变化如下:最人揽拌轴(或轴套)外径山110mm提高到160mm;HG/T2057—2011
对机密封的外形尺寸及安装结构作了调整,其中单端面机械密封的连接尺寸由原米的按0.6MPa正力等级法兰尺小为按1.0MPa压力等级法兰儿寸;增加了2004型轴向双端面机概密封,其适用/K力为1.6MPa;珊去了机封零件明细表。
本标推由中国石油和化学1业协会提用,本标准由全国塘璃设备标准化技术委员会归口。木标推起草单位:昆山密友机械密封有限公司。本标准士要起草人吴建明、王黎明、袁鑫雷。本标准所代替标准的厉次版本发布情况为:—11G/12057—1991;
HG/T 2037 2003.
TTKONKAA
1范围
糖玻璃搅拌容器用机械密封
HC/T2057—2011
本标准规定了在措玻璃搅拌容器上部安装的据玻璃搅拌轴用机械密封的型式,主要尺寸.标记、技术要求、试验,安装和使用要求、包装,运输和贮存。本标准适用丁设计压力一0.1 MPa~1.6 MPa,设计温度一40 ℃ ~200 ℃,拌轴(或轴套)外径为40 mm-1ti0 mm+转轴线速度小于2 m/s的据玻璃搅拌容器用机械密封。2规范性引用文件
下列文件中的条款通过本标准的引用而成为本标准的紊款。凡居注口期的引用文件,月随后所的修改单(不包括勘误的内容)或修订版均不适用了本标准,然而,鼓励根据本标准达戒协议的各方研究是否可使川这些义件的最新版本。凡是不注日期的引用文件,其最新版本适用本标谁。(FB/T1181形状和位置公鉴未注公差值GH25025据玻璃设备技术条件
HG/T2099釜用机械密封试验规范HG/T2122釜用机械密封辅助装置IIG/T2269签用机械密封技术条件3型式及主要尺寸
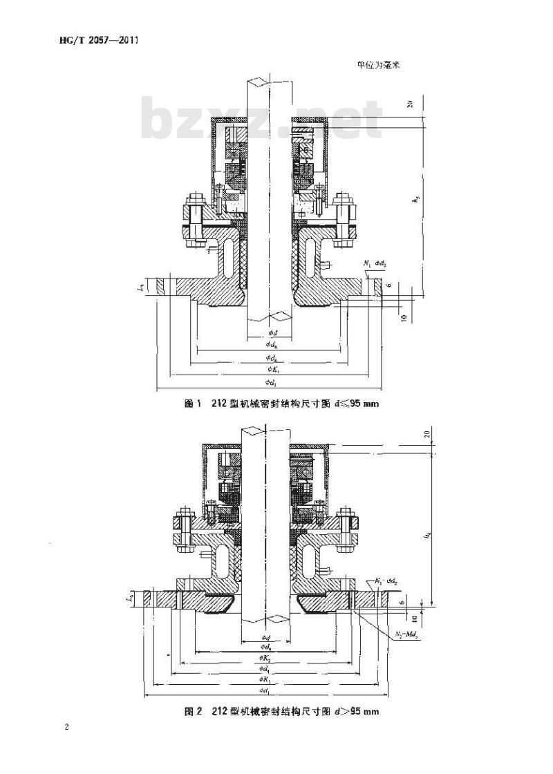
3.1密封一殿介质时,据玻璃搅拌荠器的机械密封采川单端面的小弹贫四氟乙烯波纹管型(设计代号为212型),其结构见图1、图2,主要尺寸见表1。212型机城密封适用范围:塘玻璃搅拌轴轴径10mm~110mm时,设计压力0MPa~0.1MPat摘玻璃揽拌轴轴径125mm~16mm时,设计压力0MPa~0.25MPa,1
TTTKAONYKACA
HG/T2057—2011
单位为牵米
图 1212型机械密封结构尺寸图 d≤,95 mmNa-a
国2212型机械密封结构尺寸图d95mmTKNTKAcA
5051 460
212型机械密封基本尺寸
HG/T2057-2011
单位为毫米
3.2密封易燃、易爆,毒性程度中度危害以上的介质时,糖玻璃搅拌容器的机械密采用径向双常面型(设计代号为221型),H结构见图3、图1,主要尺寸见表2;轴问双端面型<设计代号为2009型),其结构见图5.图6,主要尺寸见表3。221型机械密封用范围:设计压力0MPa--1.0MPa.2009 型机械密封适用范围:设计压力一0.1 MIa~1,6 MPa。逆位为米
图3221型机械密封结构尺寸图a95mmTKANTKAcA
HG/T2057-2011
图 4221型机械密封结构尺寸图 d95 mi泰2
221型机械密封基本尺寸
TKANYKACA
逆位发旁米
图52009型机械密封结构尺寸图d≤95mmK
国62009型机械密封结构尺寸图d95mumTKANTKAcA
HG/T2057-2011
单位为毫米
单位为毫米
IIG/T 2057—2011
4标记及材料
4.1标记bzxZ.net
机械密封标记衣示如下:
表32009型机械密封基本尺寸
XXX-XXX-XXXXXXXX
4.2材料及其代号
d,tda)
HG/T 2057-2010
一墙玻容器用机械出封标代受
材料代号(按4.2规定)
糖玻璃搅拌轴直经(单位为毫米.用3位数表水,不足子位数的而在前面零)设计代号(212,221或2009)
4.2.1机最密封零部件材料及代号见表4表4机械密封零部件材料及代号对照旅转环.静止环材料
材料名称
石塑没液巴氏合金
石墨浸波酶醛树脂
石螺浸液味喃树脂
石册径减环氧树脂
氰化硅
碳化硅
氧化铅
增强蜂四钜乙烯
其他工程塑料
辅助密封圈树料
材料名称
氧嫁胶
橡胶包摄氧塑料
其弹性材料
聚四氟乙烯
柔性石翌
其他非弹性材料
TTTKAONKACA
单位为毫来
弹黄和其他结构
植料名称
解擦钢
高锦合金
其池材料
4.2.2机械密封零件材料代号位置如下辅助南村窗材料
静正所材料
其份结均材料
其他结梅材料
弹材料
辅助密封国材料
静止环材料
介质侧旋转环材料
HG/T 2057-—2011
注:212型机械案封材料取前五个位胃代号,221型、2U0型机密封材料取全部八个位代号。标记示例
据玻搅容器机密,设计型式为212型,培玻璃撕拌轴直径&1m,旋转环材料为增强聚叫氟乙烯,静正环材料灯书化铝,辅助密封材料瓶像胶,弹赞及其他结构材料均为锦铭钢:其标记表示:212-080-YVVFFHG/T2057-2710
5技术要求
5.1机械密封主要零件
机械密封主要琴性的技术要求按IIG/2269的规定。5.2密封性能
5.2.1密均-般气体时,采用单端面机械密封,只对泄漏作定性检查,11视无明显气泡为合格。5.2.2被密封介厨为中厚有毒、易燃、易爆的气体时,采用双端面机械密封,轴径人于80mm时,泄漏量成不大于8ml/h轴径小于等于 80 时,泄漏量应不大于 5ml/h.6试验
6.1试验的分类
6. 1. 1 型式试验
为判定机械游封的材质和结构发尘改变时是否其有规定的性能而进行的试验。每种规格都应进行型或试验。
6.1.2出厂试验
型式试验合格的机械密封产品,出厂前应对同一规格的每批产品按2K(不少十2套>的比例抽样进行出厂性能试验
6.2试验内容
6.2.1型式试验内容包括静压试验和运转试验。测试验结束后的泄涵量,并在规定运转时间后停机测壁密封环端面的磨损量。
6.2.2出厂试验内容为静压试验和运转试验。6. 3 试验条件
试验条件的具体要求按HG/T2099中的和关内容执行。6.4试验时间
试验时间的具体要求按IIG/T2099中的相关内容执行。6.5试验报告
试验报告的具体要求按HG/T2099中的和关内容执行。TTTKANTKACA
IIG/T 2057--2011
6.6试验装置及器仪表
战验装置及议器仪表的具体要求按HG/T2099中的相关内容执行。6.7试验后的处置
当抽检出现不合格项时,该批产品应进行全检,只有完全合格的产品才允许出厂。7安装和使用要求
7.1搏玻璃榄拌轴(或轴套)上旋转环安装部位的外径尺寸公差为,表面相糙度R.≤1.6Jm。7.2搏玻璃搅拌轴(或轴套)在密封安装处的径向跳动要求为,当搅拌轴轴径小丁110mm时,径向跳动应小Ta/30(为境拌轴轴径)mm;当搅拌轴辅径人于或等于110mm时,径向跳动应小F0.5mm。搅拌轴辅向串动量应小十0.5mm。7.3撕玻璃冷即水套上下密封面与轴线睡直度按G13/I°1184的10级精度。7.4糖玻璃冷却水套应做水压试验,试验压力为0.6MPa,试验时间为15min。7.5塘玻璃搅拌轴、冷却水套的其他技术要求按GB25025的规定。7.6安装静环时,准意静坏密封(垫)甚否放人安装位置,静坏封端面必须行细找正,使静坏端面』搅拌辅线垂直度达到7.3的要求。7.7当密封腔温度较高时.参照HG/T2122选用辅助装世,其他要求按产品安装使用说明书:7.8采用单端面机械密封时,密封液盒内必须加人润滑液体。采用双端面机碱密封时,密封液的压力应人于塘玻璃搅拌穿器内介质压力0.1MPa~0.2MPa(由密封液储噬或液压泵等供给)。7.9机械密封在掂玻璃搅拌容器上安装后,先进行静压试验,试验压力值为设计压力,试验时间为15min,运转跑合厉,再进行运转试验,试验压J为最高使用压力,试验时问为1h。8包装、运输和存
8.1在产品应附有装箱单、产品合格证、质量证明书以及铭牌,铭牌上应标明机械密封的设计参数。8.2包装应能防止在运输和贮存过程中产品的损伤和零件的遗失。8.3制造厂根据用户要求提供产品安装使用说明书。8
TTTKAONYKACA
中华民共利-
化工行业标滩
携玻璃揽拌容器用机械密封
[GT 20:7 2011
出版发行:化学1业山版礼
北京止长熊区许计谢南街号政游码[化学工业出版社印制!
×unm即
0年片北款第1版第1次印间
[5号.[.21 + 1n27
赖 15等询:010-6451832
格盾服务14 65830
网hl.hnp:.tp.tcou.ca
凡购实在.如有缺损质品询题,金社值性中心负资期损定价:12.0元
版权所有
造者必究
小提示:此标准内容仅展示完整标准里的部分截取内容,若需要完整标准请到上方自行免费下载完整标准文档。