首页 > 化工行业标准(HG) > HG/T 2058.1-2009 代替 HG/T 2058.1-1991 搪玻璃温度计套
HG/T 2058.1-2009

基本信息

标准号: HG/T 2058.1-2009

中文名称:代替 HG/T 2058.1-1991 搪玻璃温度计套

标准类别:化工行业标准(HG)

标准状态:现行

出版语种:简体中文

下载格式:.zip .pdf

下载大小:633224

相关标签: 1991 玻璃 温度计

标准分类号

关联标准

出版信息

相关单位信息

标准简介

HG/T 2058.1-2009.Glass-lined thermometer tube.
1范围
HG/T 2058.1规定了搪玻璃温度计套的结构及组配型式、参数、主要尺寸和技术要求。
HG/T 2058.1适用于设计压力不大于1. 0 MPa,设计温度高于- 20 C至200 C的搪玻璃设备用温度计套。
2规范性引用文件
下列文件中的条款通过本标准的引用面成为本标准的条款,凡是注明日期的引用文件,其随后的所有修改单(不包括勘误的内容)或修订版均不适用于本标准,然而,鼓励根据本标准达成协议的各方研究是否可使用这些文件的最新版本。凡是不注日期的引用文件,其最新版本适用于本标准。
GB/T 97.1平垫圈A级
GB/T 699优质 碳素结构钢
GB/T 700碳素 结构钢
GB/T 895. 1孔用钢丝 挡圈
GB/T 3452.1液压气动用O 形橡胶密封圈第1 部分:尺寸系列及公差
GB/T 5782六角头螺栓
GB/T 6170 1 型六角螺母
HG/T 2050搪玻璃设备垫片
HG/T 2105搪玻璃设备活套法兰
HG 2432搪玻璃设备技术条件
3型式、基本参数及主要尺寸
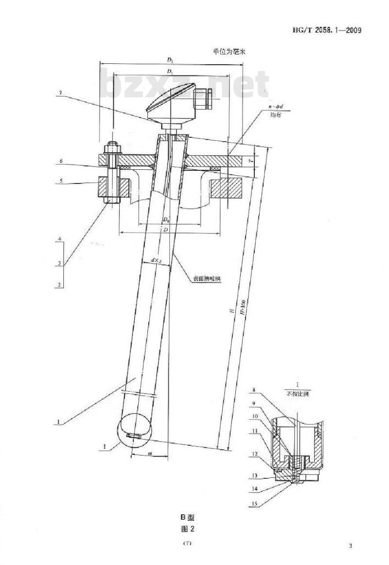
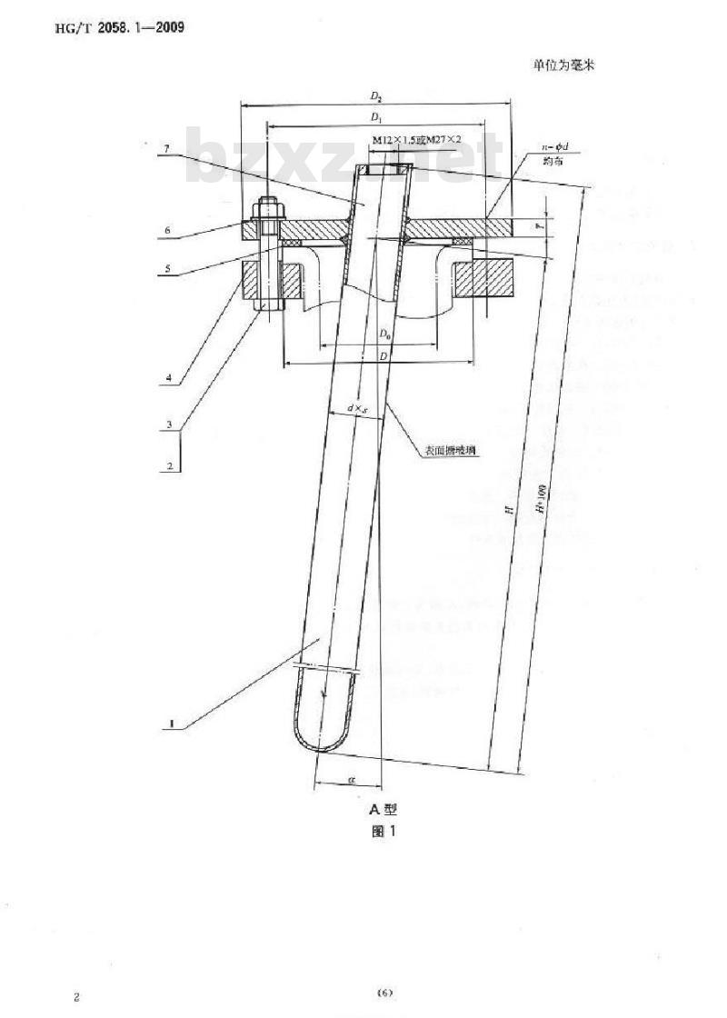
3.1温度计套结构分A型、B型两种,A型为不带测温头装置的温度计套,其基本参数及主要尺寸见图1、表1、表2、表3、表5。B型为带测温头装置的温度计套,其最小公称直径为dN50,基本参数及主要尺寸见图2、表1、表3、表4、表5。
3.2 0.6MPa搪玻璃温度计套的技术要求、基本参数及主要尺寸见附录A。
3.3 温度计套的安装方式分I型和型两种,见表1。
3.4温度计套标记:

标准图片预览

HG/T 2058.1-2009 代替 HG/T 2058.1-1991 搪玻璃温度计套
HG/T 2058.1-2009 代替 HG/T 2058.1-1991 搪玻璃温度计套
HG/T 2058.1-2009 代替 HG/T 2058.1-1991 搪玻璃温度计套
HG/T 2058.1-2009 代替 HG/T 2058.1-1991 搪玻璃温度计套
HG/T 2058.1-2009 代替 HG/T 2058.1-1991 搪玻璃温度计套

标准内容

ex号an
中华人民共和国化工行业标准
HG/T 2058.12009
塘玻璃温度计套
taae-tined thirmmeter tah
7009-02-05发存
2009-07-013递
中华人民共租国工业和信息化部发布前言
本标准代替HG/T2058.1-1991玻璃温度计套”。HG/T2058.1—2009
本标准的型式,参数,结构参考了德国国家标准DIN28146&据玻璃搅拌容器用折流板标准。本标准与HG/T2058.1一1991相比主要变化如下:取消温度计套前端的测温头
取消400L以下搏玻璃设备用的长系列温度计套:取消500L搏玻璃设备用的短系列温度计套,取消2500L错玻璃设备用的温度计套:对公称直径大于600mm小于800mm含800mm,下同)的携玻璃设备用温度计套直径修订为50mm
对公称直径大于800mm.小于1100mm的携玻璃设备用温度计套直径修订为$65mm一对公称直径大于1100mm,小于1450mm的据玻璃设各用温度计套直径修订为80mm:对公称直径大于1600mm小于1750mm的携玻璃设备用温度计套直径修订为95mm增加附录A,将原标准中0.6MPa温度计套放在附录A中。本标准的时录A为规范性附录
本标准电中国石油和化学工业协会提出,本标准由全国据玻璃设备标准化技术委员会归口。本标准起草单位:常熟市南湖化工设备制造有眼责任公司。本标准主要起草人:黄春冬,郑贵东、李业勤。本标准所代替标准的历次版本发布情况为:HG5-275-—1969;
HG5-2751970;
—HG/T2058.1-1991。
TKAONYKAa
1范围
捷玻璃温度计套
HG/T2058.12009
本标准规定了塘玻璃温度计套的结构及组配型式,参数主要尺寸和技术要求。本标准适用于设计压力不大于1.0MPa,设计温度高手一20C至200C的携玻璃设备用温度计套,2规范性引用文件
下列文件中的条款通过本标准的引用而成为本标准的条款,凡是注明日期的引用文件,其随后的所有修改单(不包括期误的内容)或修订版哟不适用于本标准,然面,鼓屌根据本标准达成协议的各方研充是否可使用这些文件的最新版本。凡是不注日期的引用文件,其最新版本适用于本标准。GB/T97.1平垫圈A级
GB/T699
GB/T700
优质碳素结构钢
碳素结构铜
GB/T895.1孔用铜丝挡圈
GB/T3452.1
液压气动用形橡胶密封圈第1部分:尺寸系列及公差GB/T5782
六角头螺栓
GB/T6170
1型六角螺母
HG/T2050携玻璃设备垫片
HG/T2105携玻璃设备活套法兰
HG2432搏玻璃设备技术条件
3型式,基本登数及主要尺寸
3.1温度计套结构分A型,B型两种,A型为不带测温头装置的温度计套,其基本参数及主要尺寸见图1.表1.表2、表3、表5。B型为带测温头装置的温度计套,其最小公称直径为dN50,基本参数及主要寸见图2表1表3表4表5
3.20.6MPa玻璃温度计套的技术要求,基本参数及主要尺寸见附录A。3.3温度计套的安装方式分1型和Ⅱ型两种,见表1。3.4温度计套标记:
温度计套23-0一56
其中:
①一温度计套型式·用A型或B型表示:②一安装方式用I型或型表示:
一温度计套公称直径DN:
O一所置管口公称压力PN;
?一温度计套管长度H:
@温度计套标准号
标记示例:
不带测温头装置的温度计套,其安装角度为7,容器公称压力PN为1.0MPa,温度计套公称真径dN为65mm,长度H为1000mm。其标记为温度计套AⅡ65-1.0-1000HG/T2058.1-200853
HG/T2058.1—2009
M12×1.5或M27X2
黄面薄玻璃
YIKAONYKACa
单位为毫米
单位为龚米
素面玻璃
HG/T 2058. 1—2009
不按比例
HG/T2058.1—2009
安装方式
表1安装方式
安装角a/c)bzxz.net
对于公称直轻小于DN1200容器只有型,因相应的肢璃搅拌容器标准中,封头上与温度计管口对接处在项出时已储转了某一角度,对于公称直径大于等手DN1200容器,安装方式1型适用于匹配框式,叶轮式,紫式搅拌器,安装方铁日型适用于匹配错式搅拌器2明细表
公称直径
标准号
GB/T5782
GB/T6170
HG/T2105
HG/T2050
GB/T 97.1
活赛法兰
所配管口
公称直径
公称压力
PN/MPa
T尺寸由生产厂家根据不同材质自行确定件号
标准号
GB/T5782
GB/T6170
GB/T 97.1
HG/T2105
HG/T2050
GB/T895.1
GB/T3452.1
活套法兰
接线盒
锅丝挡圈
表3尺寸表
表4明细表
测温头套管
O形能封固
压雅弹酸
热电码
-YYKAONTKAA
符合HG2432
维合件
Q235-A
符合HG2432
组合件
组合件
组合件
聚四氟艺乙烯
聚园氟艺焙
红纸板
见表3
见表3
数量、规格见表3
耐工作介质腐健
12-2,11:
atsesr
HG/T2058.12009
技术要求
携玻璃温度计套的制造、检验、验收应符合HG2432的要求。4.1
4.2温度计套按图纸要求进行耐压试验5包装,运输和购存
5.1玻璃面均应用软物包扎,装人木箱内牢靠固定。5.2搬运或运输时禁止碰撞,包装箱不得倒置,5.3产品应附有装箱单、合格证及使用说明书,5.4产品应存放室内,不准露天堆放,倒置。TKANKACa
附录A
(规范性附录)
0.6MPa糖玻璃温度计套
HG/T2058.12009
0.6MPa捷玻璃A型温度计套的基本参数及生要尺寸见图1、表I、表2、表A.1、表A-2:B型为A.
带测温头装置的温度计套+其基本参数及尺寸见图2、表1.表4、表八.2。表A.1
公称直径
公际直径
所配管口
公称直径
配撕骏请容器
公称压力
PN/MPa
安装角
公称直径DN/mm
七系列
尺寸表
尺寸表
配据式揽拌器
参考质量/kg
配铺式
境找器
配相式
找护器
HGT2058.12009
所配砖玻璃容器
公称直径
容积VN
公称直径DN/mm
L系列
S聚到
表A.2【续】
配铺式
安装痛
配橘式搅拌器
多考质量/lkg
配错式
揽拌器
0.6MPa携玻璃温度计套的技术要求及包装,运翰和广存按第4章和第5章的规定。A2
KAONr KAca
配握式
揽择器
小提示:此标准内容仅展示完整标准里的部分截取内容,若需要完整标准请到上方自行免费下载完整标准文档。