首页 > 化工行业标准(HG) > HG/T 2058.2-2009 代替 HG/T 2058.2-1991 搪玻璃挡板式温度计套
HG/T 2058.2-2009

基本信息

标准号: HG/T 2058.2-2009

中文名称:代替 HG/T 2058.2-1991 搪玻璃挡板式温度计套

标准类别:化工行业标准(HG)

标准状态:现行

出版语种:简体中文

下载格式:.zip .pdf

下载大小:487525

相关标签: 1991 玻璃 板式 温度计

标准分类号

关联标准

出版信息

相关单位信息

标准简介

HG/T 2058.2-2009.Thermometer tupe of the glass-lined baffle.
1范围
HG/T 2058.2定了搪玻璃挡板式温度计套的结构及组配型式、参数、主要尺寸和技术要求。
HG/T 2058.2适用于设计压力不大于1.0MPa,设计温度高于-20℃至200℃的搪玻璃设备用温度计套。
2规范性引用文件
下列文件中的条款通过本标准的引用而成为本标准的条款,凡是注日期的引用文件,其随后的所有有修改单(不包括勘误的内容)或修订版均不适用于本标准,然而,蔹勋根据本标准达成协议的各方研究是否可使用这些文件的最新版本。凡是不注日期的引用文件,其最新版本适用于本标准。
GB/T 97.1平垫圈A级
GB/T 699优质碳素结构钢
GB/T 700碳 素结构钢
GB/T 895.1孔用钢丝挡圈
GB/T 3452.1液压气动用 O形橡胶密封圈第1部分:尺寸系列及公差
GB/T 5782六角头螺栓
GB/T 6170 1 型六角螺母
HG/T 2050搪玻璃设备 垫片
HG/T 2105搪玻璃设备活套法兰
HG 2432搪玻璃 设备技术条件
3型式、基本参数及主要尺寸
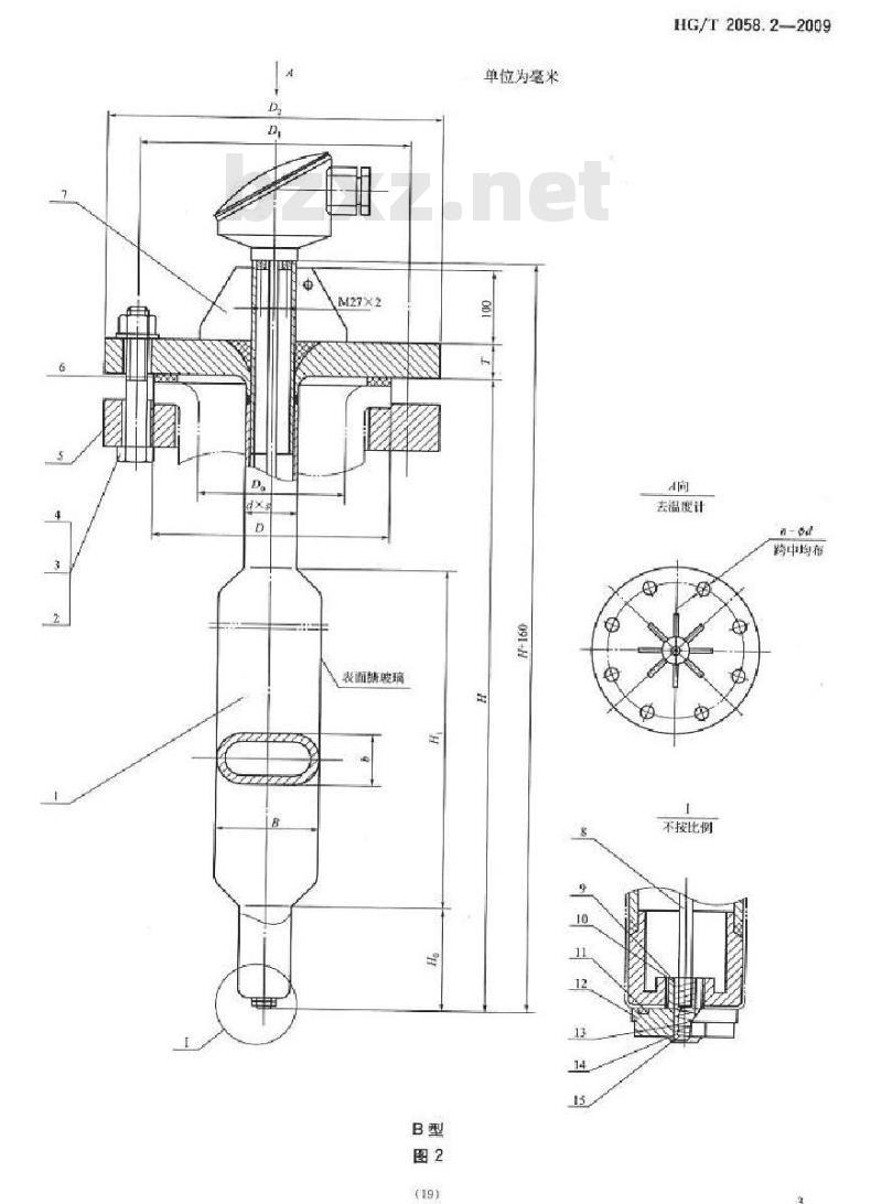
3.1 温度计套结构分A型、B型两种,A型为不带测温头装置的温度计套,其基本参数及主要尺中见图1、表1、表2、表4, A型不插测温元件时可作挡板使用; B型为带测温头装置的温度计套,其基本参数及尺寸见图2、表2、表3、表4。
3.2温度计套标记:

标准图片预览

HG/T 2058.2-2009 代替 HG/T 2058.2-1991 搪玻璃挡板式温度计套
HG/T 2058.2-2009 代替 HG/T 2058.2-1991 搪玻璃挡板式温度计套
HG/T 2058.2-2009 代替 HG/T 2058.2-1991 搪玻璃挡板式温度计套
HG/T 2058.2-2009 代替 HG/T 2058.2-1991 搪玻璃挡板式温度计套
HG/T 2058.2-2009 代替 HG/T 2058.2-1991 搪玻璃挡板式温度计套

标准内容

ICS 71.120;25.220.50
备案号:25835—2009
中华人民共和国化工行业标准
HG/T2058.2—2009
代替HG/T2058.2-1991
糖玻璃挡板式温度计套
Thermometer tupe of the glass-lined baffle2009-02-05发布
藕须=eeekeke-霸
2009-07-01实施
中华人民共和国工业和信息化部发布
本标准代替HG/T2058.2—1991&糖玻璃塑片式温度计套》。HG/T2058.2—2009
本标准的型式,参数、结梅参考了德国国家标准DIN28146携玻璃搅拌容器用折流板标准。本标准与HG/T2058.2-1991相比主要变化如下:一对据玻璃温度计套管的联接形式进行修订,DN8O以上的法兰非携玻璃侧增设加强助结构:一对搏玻璃温度计套管的结构进行修订:一取消糖玻璃温度计套前端的测温头取消1000L以下据玻璃温度计套:取消2500L捷玻璃温度计套:
取消PNO.6MPa压力等级的温度计套:增加25000L至40000L据玻璃温度计套。本标准由中国石油和化学工业协会提出。本标准由全国捷玻璃设备标准化技术委员会归口。本标准丰要起草单位:常熟市南湖化工设备制造有限责任公司本标准主要起草人:郑贵东、黄春冬、李业勤。本标准代替标准的历次版本发布情况为:HG5-276-1969;
-HG5-2761979:
HG/T2058.2-1991。
1范围
捷玻璃挡板式温度计套
HG/T2058.2—2009
本标规定了据玻璃挡板式温度计套的结构及组配型式、参数、主要尺寸和技术要求本标准适用手设计压力不大于1.0MPa,设计温度高于一20C至200C的批玻璃设备用温度计套。
2规范性引用文件
下列文件中的条款迈过本标准的引用面成为本标准的条款,凡是注日期的引用文件,其随后的所有有峰改单(不包括期误的内容)或修订版均不适用于本标准,然而,鼓励根据本标准达成协议的各方研究是否可使用这些文件的最新版本。凡是不注日期的引用文件,其最新版本适用于本标准。GB/T97.I平毕图A级
GB/T699
GB/T 700
优质碳素结构钢
碳素结构钢
GB/T 895.1
孔用钢丝拍
GB/T 3452. 1
GB/T5782
GB/T6170
HG/T 2050
HG/T2105
液压气动用0形橡胶密封圈第1部分:尺寸系列及公差六角头螺栓
1型六角螺母
措玻璃设备垫片
精玻璃设备活套法兰
费驶璃设备技术条件
HG2432
3型式、基本参数及主要尺寸
3.1温度计套结构分A型,B型两种,A型为不带测温头装置的温度计套,其基本参数及主要尺寸见图1、表1,表2、表4,A型不插测温元件时可作挡板使用:B型为带测温头装置的温度计套,其基本参数及尺寸见图2表2表3、表生,3.2温度计套标记:
温度计套02一3一05
其中:
D一温度计套型式,A或B表示,
?—温度计套公称直径dV:
所置管口公称压力PN;
@一温度计套管长度H:
?—温度计套标准号bzxz.net
标记示例:
不错测温头装置的挡板式温度计套,所置容器公称压力PN为1.0MPa,温度计套公称直径dN为95mm,长度H为1900mm。其标记为:温度计套A95-1.0-1900HG/T2058.2-2008n)
HG/T2058.2-2009
M27×2
表面携玻璃
单位为毫米
去温度计
定位导向套
不按比
降中均布
表面糖玻璃
单位为毫米
HG/T2058.2—2009
左温凝计
跨中均布
不按比倒
HG/T2058.22009
公称直径
标准号
GB/T5782
GB/T6170
GB/T 97.1
HG/T2105
HG/T2050
133X19
168×12
219X12
273X12
籍套法兰
厨配管口
公称直径
标准号
GB/T5782
GB/T6170
HGT 2105
HG/T2050
GB/T895.1
GB/T3452.1
公称压力
PN/MPa
明细表
尺寸表
明细表
括餐法兰
接线盒
制丝挡图
建温头管
0彩密对圈
压缩弹簧
热电码
符合HG2432
组合件
Q235-A
符合HG2432
组合件
组合件
组合件
聚四银艺璐
聚园氣艺婚
见表2
4N80以上带筋板
数量.规格见表2
公称直径
所配携玻璃容器
公称直径DN/mm
容积VN
L系列
S系列
表4尺寸表
HG/T2058.2-—2009
参考质最/kg
(公称压方L.0MPa)
55- 84
206-53
HG/T2058.2—2009
4技术要求
塘玻璃挡板式温度计套的制造、检验、验收应符合HG2432的要求。4.2挡板式温度计套按图纸要求进行耐压试验。4.3挡板式温度计套法兰非撕玻璃侧应有醒目箭头标记,箭头方向应反映出挡板实际方向,便于使用和安装。
4.4当套管仅作为挡板使用时,可不带测温元件及其定位部件进行安装5包装、运输和贮存
5.1糖玻璃面均应用软物包扎,装人木箱内军靠固定。5.2搬运或运输时禁止碰撞,包装箱不得倒置。5.3产品应时有装箱单,合格证及使用说明书。5.4产品应存放室内,不准露天堆放、倒置。
小提示:此标准内容仅展示完整标准里的部分截取内容,若需要完整标准请到上方自行免费下载完整标准文档。