首页 > 机械行业标准(JB) > JB/T 2984.4-1999 履带式推土机 驱动轮齿块
JB/T 2984.4-1999

基本信息

标准号: JB/T 2984.4-1999

中文名称:履带式推土机 驱动轮齿块

标准类别:机械行业标准(JB)

英文名称: Crawler bulldozer drive gear segment

标准状态:现行

发布日期:1999-09-17

实施日期:2000-01-01

出版语种:简体中文

下载格式:.rar.pdf

下载大小:255637

相关标签: 履带式 推土机 驱动轮

标准分类号

标准ICS号:材料储运设备>>53.100土方机械

中标分类号:工程建设>>施工机械设备>>P97建筑工程施工机械

关联标准

替代情况:JB/T 8294-1995(原标准号GB 10915-1989)

出版信息

页数:9页

标准价格:14.0 元

相关单位信息

归口单位:(部)工程机械标准化技术委员会

发布部门:(部)工程机械标准化技术委员会

标准简介

JB/T 2984.4-1999 本标准是对 JB/T 8294-95《履带式推土机驱动轮齿块》的修订。修订时按有关规定作了编辑性修改,技术内容稍有变化。 本标准规定了履带式推土机驱动轮齿块的型式尺寸,要求,试验方法和检验规则。 本标准适用于功率大于或等于 73.5kW 的履带式推土机的驱动轮齿块,其它履带式工程机械的驱动轮齿块也可参照使用。 本标准于 1989 年 3 月 31 日以 GB 10915-89 首次发布,于 1996 年 4 月调整为 JB/T 8294-95。 JB/T 2984.4-1999 履带式推土机 驱动轮齿块 JB/T2984.4-1999 标准下载解压密码:www.bzxz.net

标准图片预览

JB/T 2984.4-1999 履带式推土机 驱动轮齿块
JB/T 2984.4-1999 履带式推土机 驱动轮齿块
JB/T 2984.4-1999 履带式推土机 驱动轮齿块
JB/T 2984.4-1999 履带式推土机 驱动轮齿块
JB/T 2984.4-1999 履带式推土机 驱动轮齿块

标准内容

ICS53.100
中华人民共和国机械行业标准
JB/T2984.4—1999
履带式推土机驱动轮齿块
CrawlerbulldozerSprocket segmentfordrive1999-09-17发布
国家机械工业局
2000-01-01实施
JB/T2984.4—1999
本标准是对JB/T829495(原GB1091589)《履带式推士机驱动轮齿块》的修订。修订时,对原标准作了编辑性的修改,主要技术内容稍有变化,本标准与JB/T8294—95相比,主要区别为:废止了百分比抽检,贯彻GB/T2828—1987《逐批检查计数抽样程序及抽样表(适用于连续批的检查)》本标准自实施之日起代替JB/T8294一95。本标准由工程机械标准化技术委员会提出并归口。本标准起草单位:天津工程机械研究所、丹东518内燃机配件厂、大连锻造厂、山推工程机械公司实业公司。
本标准主要起草人:李名祥、王开远、王继曾、郭正德、武莲凤。1
1范围
中华人民共和国机械行业标准
履带式推干机
驱动轮齿块
Crawler bulldoerSprocket segment for driveJB/T2984.4-1999
代替JB/T8294—95
本标准规定了履带式推土机驱动轮齿块(以下简称齿块)的型式尺寸、要求、试验方法和检验规则。本标准适用于功率大于或等于73.5kW(100马力)的履带式推土机的驱动轮齿块,其它履带式工程机械的驱动轮齿块也可参照使用。引用标准
下列标准所包含的条文,通过在本标准中引用而构成为本标准的条文。本标准出版时,所示版本均为有效。所有标准都会被修订,使用本标准的各方应探讨使用下列标准最新版本的可能性GB/T 228—1987
GB/T2291994
GB/T230—1991
GB/T2828—1987
GB/T30T7—1999
GB/T10561—1989
JB/T2984.2—1999
JB/T2984.3—1999
3型式和尺寸
金属拉伸试验法
金属夏比缺口冲击试验方法
金属洛氏硬度试验方法Www.bzxZ.net
逐批检查计数抽样程序及抽样表(适用于连续批的检查)合金结构钢技术条件
钢中非金属夹杂物显微评定方法履带式推土机驱动轮齿块用螺栓履带式推土机
履带和齿块用螺母
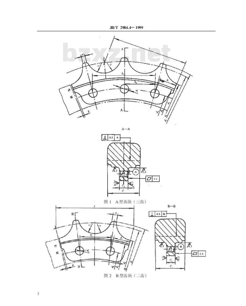
3.1齿块的型式和尺寸应符合图1、图2和表1的规定。国家机械工业局1999-09-17批准2000-01-01实施
JB/T2984.4—1999
A型齿块(三齿)
图2B型齿块(二齿)
齿块节距
齿顶厚度
齿形半径
齿顶圆直径
齿根圆直径
齿分圆直径
止口直径
钻孔中心圆径
钻孔直径
钻孔边距
相邻钻孔
间隔钻孔距
齿块侧隙
齿面宽度
凸缘宽度
标记示例
JB/T2984.4-1999
A型(三齿)
203.2±0.7
按图样
35.2±0.7
810.8±1.0
81.8±0.2
162.6±0.2
37.4±0.7
794.6±1.0
87.7±0.2
174.1±0.2
228.6± 0.7
39.5±0.7
1011±1.0
912.2±1.0
265 -05
92.9±0.2
184.5±02
二齿B型,节距为216mm,安装孔相邻孔距为87.7mm的齿块,标记为:齿块B216×87.7
4要求
JB/T2984.4—1999
齿块应按经规定程序批准的产品图样、技术文件及本标准进行制造。4.1
B型(二齿)
37.4±0.7
794.6±1.0
齿块用钢应符合GB/T3077中规定的40MnB或35MnB合金钢材料,也允许采用力学性能不低4.2
于上述牌号的其它材料。
齿块用钢的含碳量应符合GB/T3077中的规定:其含硫、磷量应小于0.035%。钢的非金属夹杂4.3
脆性夹杂物、塑性夹杂物的含量应符合GB/T10561一1989中规定的2.5级要求。物、
齿块的力学性能和热处理要求应符合表2的规定。表2
抗拉强度
≥932
屈服强度
≥735
冲击韧性
表面硬度
37HRC以上齿根处硬层深度
37HRC以上齿顶处硬层深度
齿块的锻造比应大于或等于2,起模斜度为35°锻件齿形精度相对于标准齿形样板的极限偏差,应控制在土0.7mm以内mm
JB/T2984.41999
4.7零件不得有毛刺、飞边、折叠、凸起、氧化皮、错模及裂纹等缺陷,但允许有深度不大于0.15mm、面积不大于1cm2的凹陷一处。
4.8锻件须经喷丸与防锈处理。
4.9齿块表面粗糙度不大于,其余非加工面表面粗糙度不大于4.10钢材的淬透性,采用延伸锻制试样淬火,应符合表3的规定。表3
距淬火端距离
4.11与齿块配用的螺栓和螺母,应符合JB/T2984.2和JB/T2984.3的规定。5试验方法
5.1拉伸试验
齿块成品的拉伸试验应按GB/T228—1987的规定进行,应在成品上按GB/T228—1987中的13号试样取样,试验取样部位见图3。B--B
单取拌部位
图3拉伸试验取样部位
5.2冲击试验
齿块的冲击试验应按GB/T229的规定进行。在成品上取样部位见图4。在高单样都包
图4冲击试验取样部位
硬度试验
JB/T2984.41999
齿块的硬度试验应按GB/T230的规定进行。表面硬度的试验部位见图5的X、X,、X,与X,率硬层深度试验部位见图5的Y与Y,(采用硬度法)。A--A
5.4探伤试验
37HR心萍础区
图5表面硬度与淬硬层深度试验位置齿块成品不允许有任何裂纹,应经湿式磁粉探伤,并做退磁处理。5.5材料试验
齿块材料应做火花试验或金相显微评定试验,每批试一次。5.6齿根母线的平行度试验
齿块齿根母线的平行度试验见图6,先调基准位置的间隙为零,再对测定部位上的齿根母线进行度量,平行度偏差小于或等于0.7mm。平行度常落
我角房
图6齿根母线的平行度试验
5.7齿形精度试验
齿块齿形精度试验见图7。先将齿形样板均匀放入被测齿块上,再将样板比齿块齿形外廓尺寸抬高1mm间隙,然后度量齿块齿形全周(不包括图7中近齿顶的易接触的4点),间隙应符合(1土0.7)mm的要求。
6检验规则
JB/T2984.4—1999
易接恒+处
图7齿形精度试验示意图
6.1齿块的尺寸精度、表面粗糙度及外观质量,应由制造厂检验部门按产品图样和本标准规定进行检验,并开具出厂合格证,方准出厂。6.2检验所用仪器及量具必须定期标定合格。6.3齿块出厂前应对成批生产的成品进行抽样检验,抽样检验方法按GB/T2828的规定。将不符合第4章要求的不合格项,按其对产品质量影程度,分成A类、B类和C类三类不合格,分别给出合格质量水平AQL值和合格判定数Ac值及不合格判定数Re值,并选用正常一次抽样方案。采用一般检查水平I,检查批N选26~50件,样本大小字码为D,样本大小为&A类AQL为1.5,Ac为0,Re为1;B类AQL为40,Ac为7,Re为8:C类AQL为100,Ac为14,Re为15。6.4抽样采用随机方式,按6.3抽样方案对样本进行逐项检查,并将结果汇总7包装、运输及贮存
7.1包装前应清除污垢和切屑,表面涂上防锈剂,装入衬有防潮纸的包装箱内,并保证在正常运输中不致损坏齿块。单箱质量一般不得超过60kg。7.2包装箱内应附有制造厂质量检验员签章的合格证,并应标明产品的名称和型号。7.3包装箱上应标明:
a)产品名称和型号;
b)制造厂名:
c)产品的规格或标记;
d)数量:
e)净重:
f)出厂日期。
7.4齿块装箱后应放置在干燥、通风的仓库里,在正常情况下,自出厂之日起1年内不应该锈蚀。6
机械行业标准
履带式推土机驱动轮齿块
JB/T29844—1999
机械科学研究院出版发行
机械科学研究院印刷
(北京首体南路2号:邮编100044)*
开本880×12301/16印张3/4
4字数14.000
2000年4月第一版
2000年4月第一次印刷
印数1-500
定价1000元
编号99-1295
机械工业标准服务网:htp/AvwwJB.ac.cn6
小提示:此标准内容仅展示完整标准里的部分截取内容,若需要完整标准请到上方自行免费下载完整标准文档。