首页 > 水产行业标准(SC) > SC/T 8034-1994 渔船柱塞式液压舵机修理技术要求
SC/T 8034-1994

基本信息

标准号: SC/T 8034-1994

中文名称:渔船柱塞式液压舵机修理技术要求

标准类别:水产行业标准(SC)

标准状态:现行

发布日期:1994-11-01

实施日期:1995-01-01

出版语种:简体中文

下载格式:.rar.pdf

下载大小:91144

相关标签: 渔船 柱塞 液压 舵机 修理 技术

标准分类号

中标分类号:>>>>R3 船舶>>船舶专用装备>>U33渔船专用装备

关联标准

替代情况:替代SC 34-79

出版信息

出版社:中国标准出版社

页数:7页

标准价格:10.0 元

出版日期:1995-01-01

相关单位信息

起草人:王先久

起草单位:青岛海洋渔业公司渔轮修造厂

提出单位:全国渔船标准化技术委员会

发布部门:中华人民共和国农业部

标准简介

本标准规定了渔船柱塞式液压舵机修理技术要求。本标准适用于渔船柱塞式液压舵机的修理。其扭矩和工作压力范围为:15.00-30.OOkNm,2. 45-6. 18MPa。 SC/T 8034-1994 渔船柱塞式液压舵机修理技术要求 SC/T8034-1994 标准下载解压密码:www.bzxz.net

标准图片预览

SC/T 8034-1994 渔船柱塞式液压舵机修理技术要求
SC/T 8034-1994 渔船柱塞式液压舵机修理技术要求
SC/T 8034-1994 渔船柱塞式液压舵机修理技术要求
SC/T 8034-1994 渔船柱塞式液压舵机修理技术要求
SC/T 8034-1994 渔船柱塞式液压舵机修理技术要求

标准内容

中华人民共和国水产行业标准
渔船柱塞式液压能机修理技术要求主题内容与适用范围
本标准规定了渔船柱塞式液压能机修理技术要求。SC/T8034--94
代替 SC 34-79
本标准适用于渔船柱塞式液压能机的修理。其扭矩和工作压力范围为:15.00~30.00kNm,2.45~6.18MPa。
2引用标准
CB772船用碳素钢铸件技术要求
CB883铜合金铸件技术条件
3液压舵机主要零件修理技术要求3.1液压舵机铸钢件的铸造要求
3.1.1铸钢件化学成分及机械性能应符合CB772标准的规定。3.1.2铸钢件尺寸符合图样要求。3.1.3铸钢件内、外表面应光洁,不应有粘砂、气孔、裂缝、缩孔、冷隔等缺陷。铸件需加工的表面,经机加工可以去除的缺陷允许存在。3.1.4铸件缺陷允许焊补,焊补后表面应平整光洁,无裂缝、气孔、夹渣咬边。焊补后铸件应消除应力。3.2液压舵机铜合金铸件的铸造要求3.2.1铜合金铸件的化学成分及机械性能应符合CB883标准的规定。3.2.2铸件的尺寸应符合图样要求。3.2.3铸件表面应光洁、平整、不应有裂纹、冷隔及穿透性缺陷。铸件内部应致密、无缩孔、缩裂。铸件需加工的表面,允许存在加工后能去除的缺陷。3.2.4铸件允许用焊补方法进行修补,铸件焊补后应除应力。3.3运动件的装配间隙及使用极限间隙见表1。表1
配合件名称
销与滑块
导杆与导块衬套
舵柄与滑块
柱塞与衬套
原轴径或孔径
(基本尺寸)
安装间隙
0.03~0.15
0.03~0.05
0.04~0.18
0.05~0.13
3.4易损件衬套、导块衬套、滑块等按使用极限间隙决定修换。3.5密封环在失去密封性能后予以换新。中华人民共和国农业部1994-11-01批准258
使用极限间隙
1995-01~01实施
SC/T 8034-94
3.6柱塞的镀铬层剥落或镀铬层厚度磨损到小于0.05mm时,应重新镀铬。3.7导杆的镀铬层剥落或镀铬层厚度磨损到小于0.05mm时,应重新镀铬,3.8舵柄在与滑块接触的开口尺寸,其磨损量大于4mm时,应修换3.9有如下情况之一者,销应修换。销与滑块磨损到使用极限间隙;销在滑块油线处因磨损形成明显凸肩;销与柱塞配合处出现松动。
3.10液压能机装配及试验要求
3.10.1柱塞式液压舵机总装图见下图。F8.
1-液缸体;2·柱塞3衬套;4—密封环;5-压盖;6舵柄;7--滑块;8—销;9—导块衬套;10—导杆259
SC/T8034-94
3.10.2液压舵机在总装前,须对各零件进行检验,合格后进行组装。在装配前,对接触液压油的零件必须清洗干净,防止杂质进入液压油,3.10.3
装配时,应进行调整,使各运动件能灵活滑动。3.10.4
总装完毕,在额定压力下进行密性试验,在5min内不得有渗漏。3.10.5
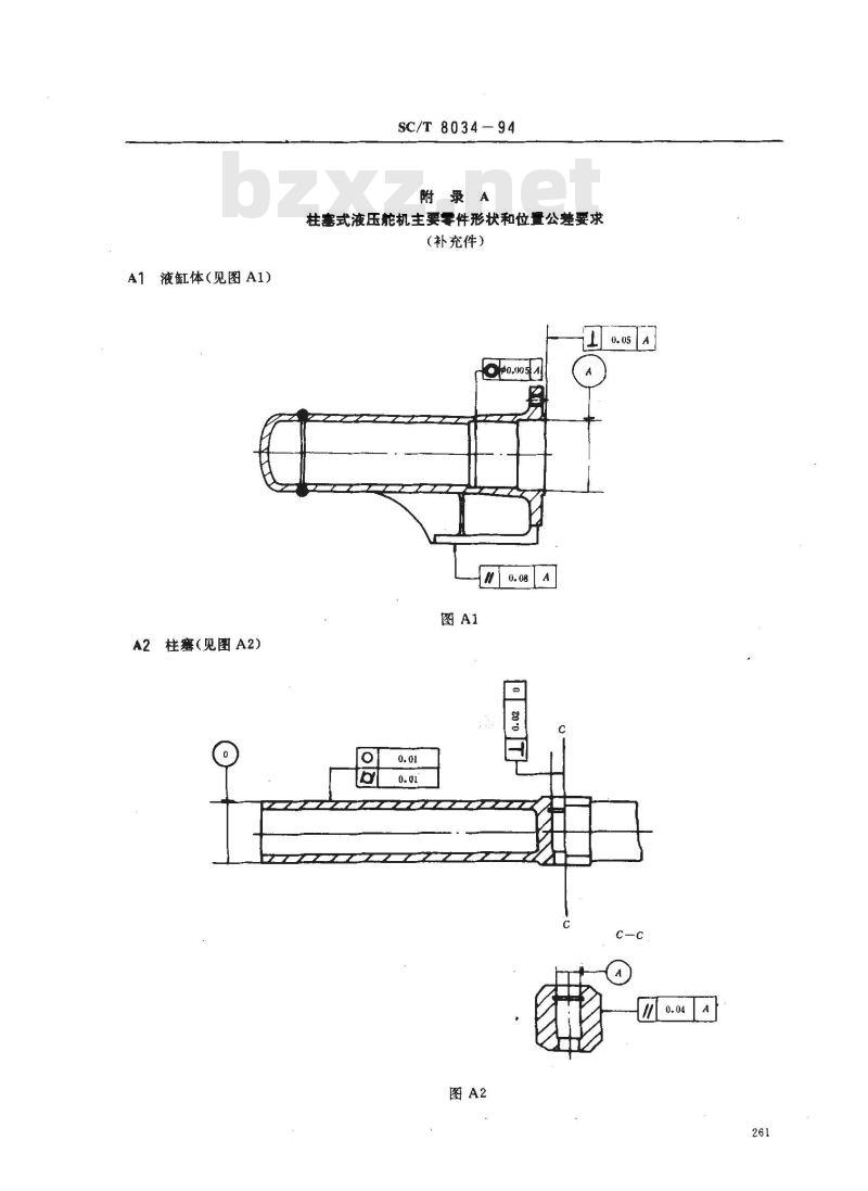
A1液缸体(见图A1)
A2柱塞(见图A2)
SC/T8034—94
附录A
柱塞式液压能机主要零件形状和位置公差要求(补充件)
A3滑块(见图A3)
A4舵柄(见图A4)
A5压盖(见图A5)
SC/T 8034- 94
A6衬套(见图A6)
导杆(见图A7)
A8导块衬套(见图A8)
SC/T 8034-94
A9销(见图A9)
附加说明:
SC/T8034-94Www.bzxZ.net
本标准由全国渔船标准化技术委员会提出。本标准由青岛海洋渔业公司渔轮修造厂负责起草本标准主要起草人王先久。
小提示:此标准内容仅展示完整标准里的部分截取内容,若需要完整标准请到上方自行免费下载完整标准文档。