首页 > 商检行业标准(SN) > SN/T 2412.4-2010 进出口钢材通用检验规程 第4部分:制样要求
SN/T 2412.4-2010

基本信息

标准号: SN/T 2412.4-2010

中文名称:进出口钢材通用检验规程 第4部分:制样要求

标准类别:商检行业标准(SN)

标准状态:现行

发布日期:2010-01-10

实施日期:2010-07-16

出版语种:简体中文

下载格式:.rar .pdf

下载大小:2442628

相关标签: 进出口 钢材 通用 检验 规程 制样

标准分类号

关联标准

出版信息

出版社:中国标准出版社

标准价格:0.0 元

出版日期:2010-07-16

相关单位信息

发布部门:中华人民共和国国家质量监督检验检疫总局

标准简介

SN/T 2412.4-2010 进出口钢材通用检验规程 第4部分:制样要求 SN/T2412.4-2010 标准下载解压密码:www.bzxz.net

标准图片预览

SN/T 2412.4-2010 进出口钢材通用检验规程 第4部分:制样要求
SN/T 2412.4-2010 进出口钢材通用检验规程 第4部分:制样要求
SN/T 2412.4-2010 进出口钢材通用检验规程 第4部分:制样要求
SN/T 2412.4-2010 进出口钢材通用检验规程 第4部分:制样要求
SN/T 2412.4-2010 进出口钢材通用检验规程 第4部分:制样要求

标准内容

中华人民共和国出入境检验检疫行业标准SN/T2412.4—2010
进出口钢材通用检验规程
第4部分:制样要求
General rules for the inspection of import & export steel products-Part 4:Requirement for sample preparation2010-01-10发布
中华人民共和国
国家质量监督检验检疫总局
数码防伤
2010-07-16实施
SN/T2412《进出口钢材通用检验规程》共分为4个部分:-第1部分:一般要求
第2部分:抽样规程
第3部分:取样部位和尺寸
第4部分:制样要求
本部分为SN/T2412的第4部分。
本部分的附录A是资料性附录。
本部分由国家认证认可监督管理委员会提出并归口。SN/T2412.4—2010
本部分起草单位:中华人民共和国广东出人境检验检疫局、中华人民共和国天津出人境检验检疫局、中华人民共和国厦门出人境检验检疫局。本部分主要起草人:周崎、陈明、曹标、傅志强、土庭追、李成明、李小敏、莫明珍、彭小钢。本部分首次发布的出人境检验检疫行业标准。1范围
进出口钢材通用检验规程
第4部分:制样要求
SN/T2412.4—2010
SN/T2412.4的本部分规定了进出口钢材检验制样的通用要求,本部分适用于进出口钢材(包括板材、棒(线)材、型材、管材等)理化性能检测所需样品的制备。2规范性引用文件
下列文件中的条款通过本部分引用而成为本部分的条款。凡是注日期的引用文件,其随后所有的修改单(不包括勘误的内容)或修订版均不适用于本部分,然而,鼓励根据本部分达成协议的各方研究是否可使用这些文件的最新版本。凡是不注日期的引用文件,其最新版本适用于本部分。GB/T228金属材料室温拉伸试验方法GB/T3655用爱泼斯坦方圈测量电工钢片(带)磁性能的方法3术语和定义
下列术语和定义适用于本部分。3.1
标准试样standardtestpiece
理化检验过程中,需要将金属材料加工成符合标准规定的标准试样,以保证试验过程标准化和试验结果的可比较性,从而有效地评价金属材料性能。一般简称试样进出口钢材检验需要采用标准试样有:拉仲、冲击<曲等。3.2
样品sample
加工标准试样前从需检验的金扇材料中切取的小块样品,样品的切取一般采用剪切和热切割等方法。
4钢材制样
4.1制样的一般原则
试样的制备过程中不能对样品进行热处理或其他处理,试样的加工过程一般应采用机械冷加工,如采用热加工如电火花加工的必须去除表面热影响层。制样前需要去除样品的热影响区,热影响区域一般应大于20mm。以下规定是制样的一般情况,具体制样的尺寸和偏差,见各主要标准中的具体规定。主要检测标准参见附录A,以备查询。
4.2拉伸试样的形状和尺寸
4.2.1概述
拉伸试验中,试样的形状和尺寸在很大程度上影响了最终结果,因此在各检验标准中拉伸试样的规定非常详细,本标准以材料形状(板、棒、管等)分类给出了常用的拉伸试样的形状和尺寸。拉伸试样分为比例和定标距两种,一般为经机加工的试祥和不经机加工的全截面试样,其横截面通常为形、矩形、异形以及不经加工的全截面形状。SN/T 2412.4—2010
比例试样是按标距公式计算而得的试样,见式(1)Lo=kS。
式中系数k=5.65称为短比例试样,k=11.3称为长比例试样,一般优先采用短比例试样。CB/T228中规定当Lo<15mm时采用定标距试样。对机加工带头圆形和矩形试样,平行部分至头部的过渡必须缓和,圆孤半径r的大小可按试样各部分尺寸、材质与机加工工艺而定。对脆性材料,r应适当加大。试样头部形状和尺寸应按试样大小、材料特性、试验目的以及试验机夹具的结构进行设计,但须保证轴向的拉伸力。对带头和不带头圆形或矩形试样,其夹持部分的长度至少应为模形夹具长度的3/4。4.2.2板状试样
见图1。
矩形试样示意图
4.2.3棒状试样
见图2。
图2状试样示意图
4.2.4.管材试样
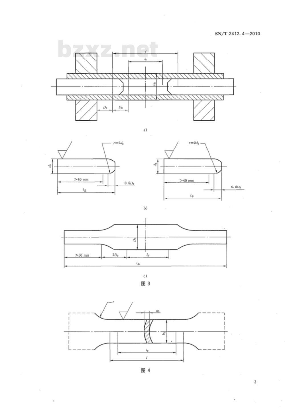
管材试样一般为自管材切取的全截面管段或从管材切取的全壁厚纵向或横向条状试样。根据管材外径D。和壁厚αo可为弧形、矩形或圆形截面。如条件许可,应优先采用全截面管段试样。全截面管段试样的塞头形状尺寸以及压肩的具体规定分别示于图3a)、图3b)、图3c)中。纵向弧形试样一般适用于管材壁厚ao>0.5mm,管材外径D。>30mm的管材,其试样如图4所示。
>40 mn
SN/T2412.4—2010
SN/T 2412.4—2010
对于厚壁管,应当从管壁切取样坏,制作棒状试样,其具休尺寸见棒状试样部分。4.3冲击试样
标准尺寸冲击试样长度为55mm,横截面为10×10mm方形截面。在试样中间有V型或U型缺口,见图5a)、图5b)所示。
如样品不够制备标准尺寸试样,可使用宽度小于10mm的小尺寸试样,宽度主要有7.5mm、5mm、2.5mm等规格。
a)V型缺口
b)U型缺口
图-5冲击试样示意图
4.4弯曲试样此内容来自标准下载网
4.4.1概述
弯曲试样通常分为全截面样、全厚度试样和机加工试样,根据样品的形状分为板状试样、棒状和管状试样。试样应在常温下用冷加工的方法制备,板状试样的尖锐棱边应倒圆,剪切表面必须磨光,加工方向应平行于试样纵轴。
4.4.2板状弯曲试样一般分为薄板试样和中厚板试样。薄板试样主要适用于厚度小于3mm的薄钢板。当厚度较大时(GB/T232规定为25mm以上),可以削去个轧制面,加工成标准规定厚度的式样,其具体尺寸见各标准具体规定。4.4.3棒状弯曲试样适用于圆形及多边形的材料,一般需要足够的长度。特别是对于要进行正反弯试验的螺纹钢类,其试样应在1000mm以上,且随着直径的增加相应增加式样长度。管状试样保证足够的长度即可,
4.5硬度试样
4.5.1布氏硬度试样
SN/T2412.4—2010
试验面原则上为平面,试验面应加工成光洁表面,必须光滑到能够测定压痕直径的1%的程度,并在其表面不得存在鳞皮、异物、油膜等。试样的厚度要求:试样应具有充分厚度,原则上不因产生压痕而在试样背面有可见的变形痕迹。试样的厚度一般为大于压痕深度的8倍以上。试样宽度一般要求:从压痕中心点间的距离要大于4倍压痕的直径。4.5.2洛氏硬度试样
试验面原则上为平面,试验面应加工成光洁表面。试样应具有充分厚度,原则上不因产生压痕而在试样背面有可见的变形痕迹。一般规定试样的厚度H应大于残余压痕深度的10倍。-般估算如下式:H≥0.02(K一HR);各主要标准对最小厚度的规定有所不同,般用图示表示。4.5.3维氏硬度试样
试验面原则上为平面,试验面应加工成光活表面。复杂形状试样为将试样面保持水平,一般应使用夹具或对试样镶嵌。
试样的厚度一般为大于压痕对角线长度的1.5倍4.6电工钢磁性能制样
实验室测量电工钢片磁性能的主要方法为GB/T3655爱泼斯坦方圈法,试样为宽度30mm、长度300mm的矩形。组成试样的条片数应为\4-的倍数试样的总重量推荐为1kg左右。电工钢片的剪取,应使所取试样具有尽可能全面的代表性,推荐的剪切和舍弃部位如图6和图7所示。图6中a、b两副试样中任取
图6热轧和冷轧无取向硅钢片的剪取法SN/T2412.4—2010
4.7金相制样
4.7.1金相试样选择
图7取向硅钢片的剪取方法
试样截取的方向、部位、数量应根据金属制造的方法、检验的目的、技术条件或双方的规定进行。垂直于锻轧方向的横截面研究的对象为:表面到中心的组织、显微组织状态、晶粒度级别、碳化物网、表层缺陷深度、氧化层深度、脱碳层深度、鹿蚀层深度、表面化学热处理及镀层厚度等;平行于锻轧方向的纵截面研究的对象为:非金属夹杂物的变形程度、晶粒畸变程度、塑性变形程度、变形后的各种组织形貌、热处理的全面情况等。4.7.2金相试样尺寸
以磨面面积小于400mm2,高度(15~20)mm为宜。4.7.3金相试样的制备过程
金相试样的制备过程一般为:截取-→清洗→镶嵌→研磨→+抛光→浸蚀。4.8化学分析制样
4.8.1直读光谱试样
金属材料化学成分检验大多采用直读光谱仪,根据不同仪器对试样的要求有所不同,但尺寸不能太小,一般直径小于10mm的样品不适合用直读光谱仪检测。直读光谱试样以磨面尺寸不小于10mm,高度(15~20)mm为宜,试样表面用砂轮打磨,不宜太光滑。4.8.2X射线荧光光谱仪试样
X射线荧光光谱仪试样应制成直径为40mm的圆形试样,试样表面光洁平整。4.8.3碎样
如果样品太小或需要采用化学分析时,须从成品钢材上采取样屑。对于大断面的坏材,圆钢,方钢,锻钢等应从钢材的整个横断面或半个横断面上创取;或从钢材横断面中心至边缘的中间部位平行于轴线钻取;或从钢材侧面垂直于轴中心线钻取,此时钻孔深度应达钢材或钢坏轴心处。
对于小断面钢材应从钢材的整个横断面上刨取(焊接管应避开焊缝);或从横断面上沿轧制方向钻取,钻孔应对称均匀分布;或从钢材外侧面的中间部位垂直于轧制方向用钻通的方法钻取。钢带和钢丝应从弯折叠合或捆扎成束的样品上刨取,或从不同根钢带、钢丝上截取。薄壁钢管可压扁叠合后在横界面上创取。
拉伸试样
冲击试样
弯曲试样
电工钢片试样
金相试样
杯突试样
化学分析试样
GB/T228
GB/T229
GB/T232
GB/T230.1
GB/T231.1
GB/T4340.1
GB/T3655
GB/T13298
GB/T4156
CB/T222
附录A
(资料性附录)
主要检测标准
主要检测标准
JISZ2201
JISZ2202
JIS22204
JISZ2245
JISZ2243
JISZ2244
JISC2550
JISG0558
JISZ2247
JISG0321
ASTMA370
ASTME23
ASTME290
ASTME18
ASTME10
ASTME92
ASTMA977
ASTME3
ASTME643
ASTME1806
ISO6892
ISO148
ISO 7438
ISO6508
ISO6506
ISO6507
IEC 404-2
ISO3887
ISO20482
ISO14284
SN/T2412.4—2010
EN10002
EN10045
ENISO7438
ENISO6508
ENISO6506
ENISO6507
EN24499
ENISO20482
SN/T2412.4-2010
中华人民共和国出人境检验检疫行业标准
进出口钢材通用检验规程
第4部分:制样要求
SN/T2412.4—2010
中国标准出版社出版
北京复兴门外三里河北街16号
邮政编码:100045
网址www.spc.net,cn
电话:6852394668517548
中国标准出版社秦皇岛印剧厂印刷印张0.75字数14千字
开本880×12301/16
2010年3月第一版
2010年3月第一次印剧
印数1-1600
书号:155066·2-20545
小提示:此标准内容仅展示完整标准里的部分截取内容,若需要完整标准请到上方自行免费下载完整标准文档。